WWW.LT1SWAP.COM

[ HOME ]    [ PCM PROGRAMMING ]   [ WIRE HARNESS INFO  ]     [ VORTEC 8100 ]   [ VORTEC 6.0L ]   [ '62 IMPALA ]   

['67 CHEVY C10]     [GM ECM TUNING]    [ LINKS ]    [ PHOTO GALLERY ] 

 

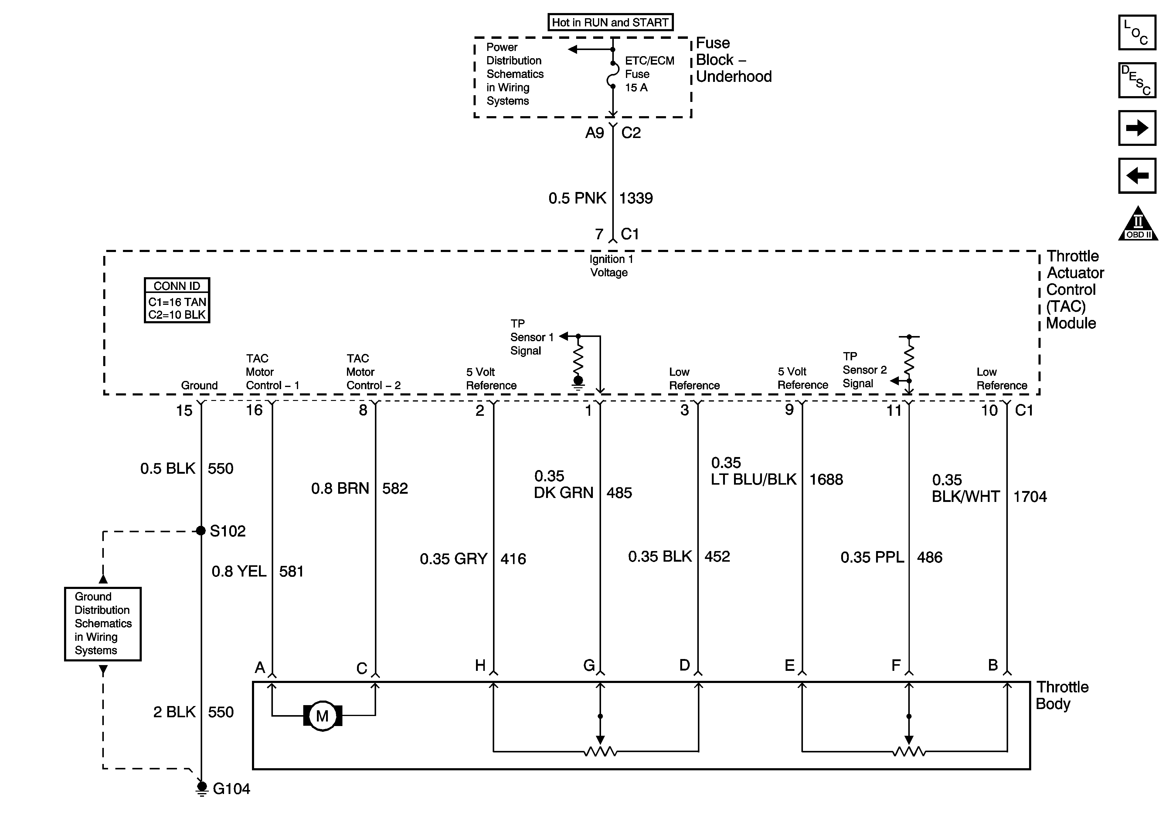
Drive By Wire = Electric motor controlling throttle blades.  Gas pedal is a sensor, that feeds to a TAC Module (Throttle Actuator Control)  The TAC module monitors the gas pedal sensor, then commands the throttle body motor to set the desired throttle setting.  The TAC module also communicates with the PCM.  Without this communication, the TAC module will not operate the throttle blade, and will cause codes to set in the PCM.

DBW was found on all Corvette's starting in 1997.  Some higher end SUV's around 2001 started getting DBW.  In 2003 all Pickup Trucks got DBW. In 2004 the Express Van got DBW.

If you are getting a motor from a salvage yard, be sure to get the Gas Pedal Assembly, TAC Module, and harness that runs from gas pedal to TAC module.  It's a short harness, with a rubber grommet where it passes through the firewall.  The rest of the wiring is part of the engine harness. 

Wiring Schematics - Typical 2004 C/K Pickup 4.8 / 5.3 / 6.0

DBW - 1 of 2

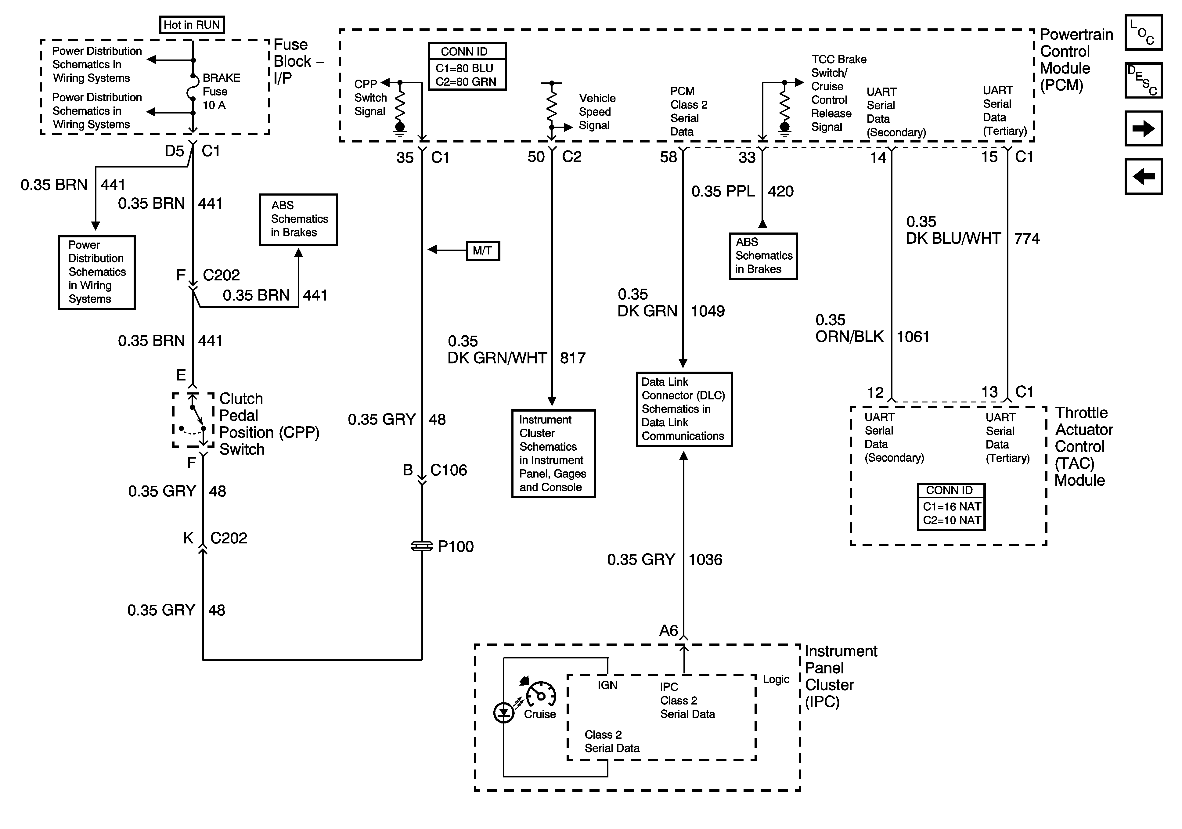
DBW - 2 of 2

CRUISE - 1 of 2

CRUISE - 2 of 2

Okay, The important thing you need to know about wiring for this if you are modifying you're harness you're self.  Very little needs done.  12v+ Key power to the PINK that feeds to the TAC module.  This goes to the large black C2 connector that originally went into bottom of the fuse block. See here for C2 Info.

CRUISE CONTROL WIRING INFO

If you pull up the picture above DBW - 2 of 2, and look at the 4 wires in the upper right.  These are for CRUISE. Three of these wires go to the C100 connector.  One goes to the C2 connector. 

    C100 - A - DK BLUE - Cruise Set/Coast Signal

    C100 - L - GRAY - Cruise On Signal

    C100 - S - GRAY/BLK - Cruise Resume/Accel Signal

    C2 - A10 - LT BLUE - Stop Lamp Supply Voltage/CHMSL (center high mounted stop lamp)

 

 

Cruise Set/Coast Signal - This is a momentary switch signal which sends 12v+ down this wire.  Momentary meaning, it only sends 12v+ when the switch is pressed, when you release the switch, it should turn off.  Pressing this switch quickly will set the current speed and it will be maintained.  Holding it on will let vehicle coast, when you release, that will be the new set speed to be maintained.  After set, each quick press of the switch will lower set speed 1 mph.

Cruise On Signal - This is simply an on / off switch that enables or disables the cruise function.  This needs to be switched 12v+ to this wire.

Cruise Resume/Accel Signal - This is a momentary switch signal which sends 12v+ down this wire.  Momentary meaning, it only sends 12v+ when the switch is pressed, when you release the switch, it should turn off.  This switch ONLY functions after you have previously pressed the SET/COAST switch.  Resume will resume vehicle speed after hitting the brakes.  Holding this switch will make vehicle accelerate until you release it.  Each quick press of the switch will increase set speed 1 mph.

Stop Lamp Supply Voltage - This wire should be hooked to the same wire that feeds you're brake lights 12v+ when you press on the brake pedal. THIS IS NOT THE SAME WIRE AS TCC BRAKE SWITCH THAT THE PCM USES TO UNLOCK TORQUE CONVERTER.

After those are wired, you also MUST have the TCC brake switch signal to the PCM.  If this signal is not received by the PCM, cruise will not function. TCC Brake Switch Signal is 12v+ when brakes are NOT pressed, and the switch OPENS when you hit the brakes.  This signal wire is at PCM connector C1-Blue: Pin #33; Purple wire.