WWW.LT1SWAP.COM

[ HOME ]    [ PCM PROGRAMMING ]   [ WIRE HARNESS INFO  ]     [ VORTEC 8100 ]   [ VORTEC 6.0L ]   [ '62 IMPALA ]   

['67 CHEVY C10]     [GM ECM TUNING]    [ LINKS ]    [ PHOTO GALLERY ] 

 

Engine Controls Schematics Base and Luxury

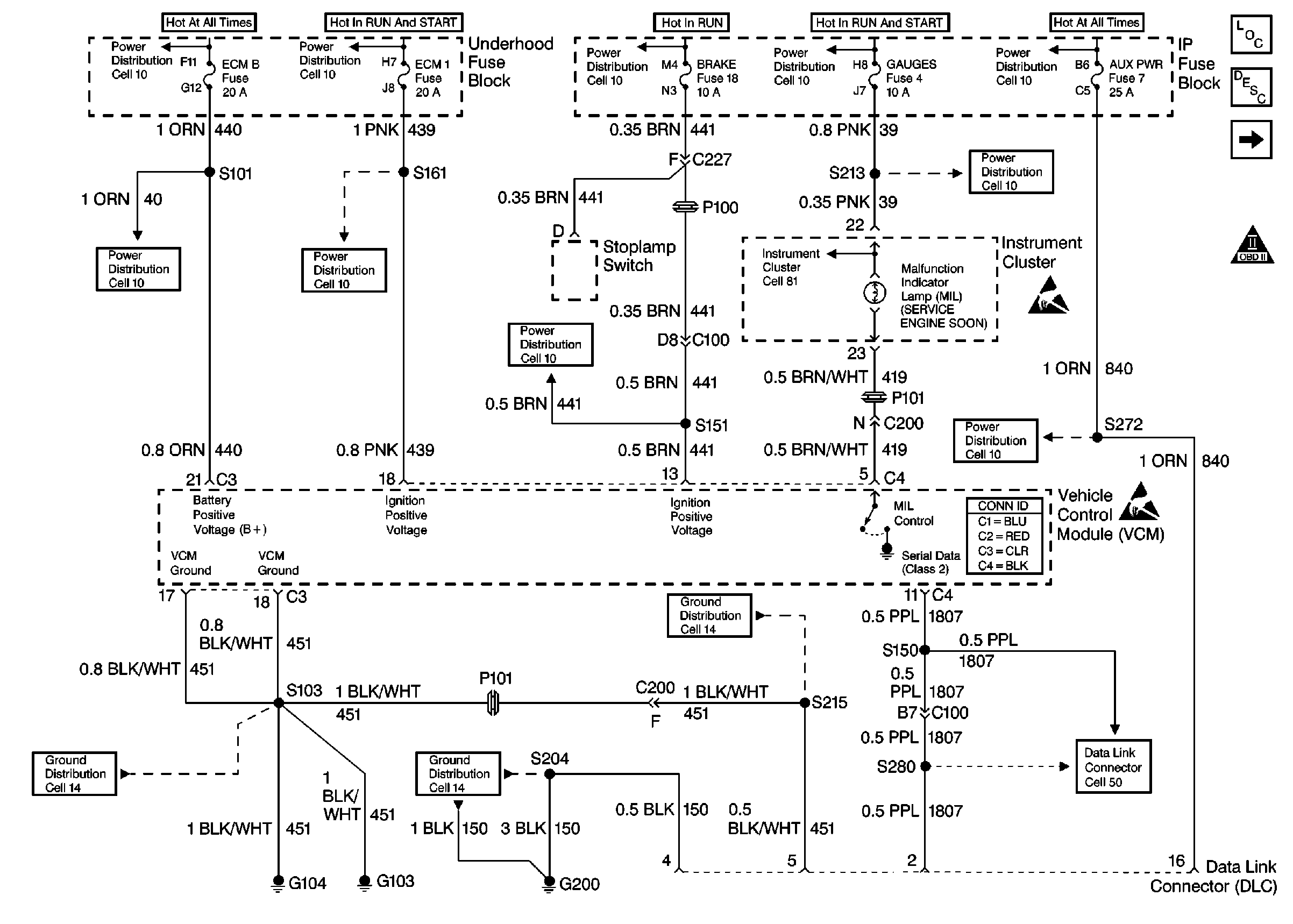
Figure 1: Power, Ground, and DLC
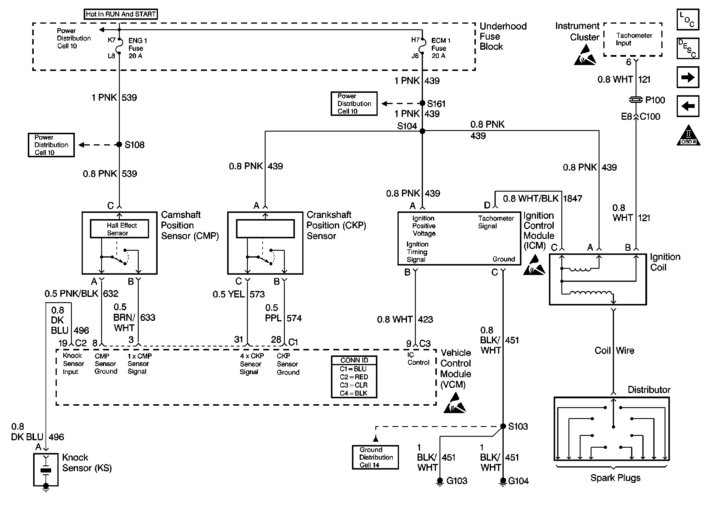
Figure 2: Ignition Controls
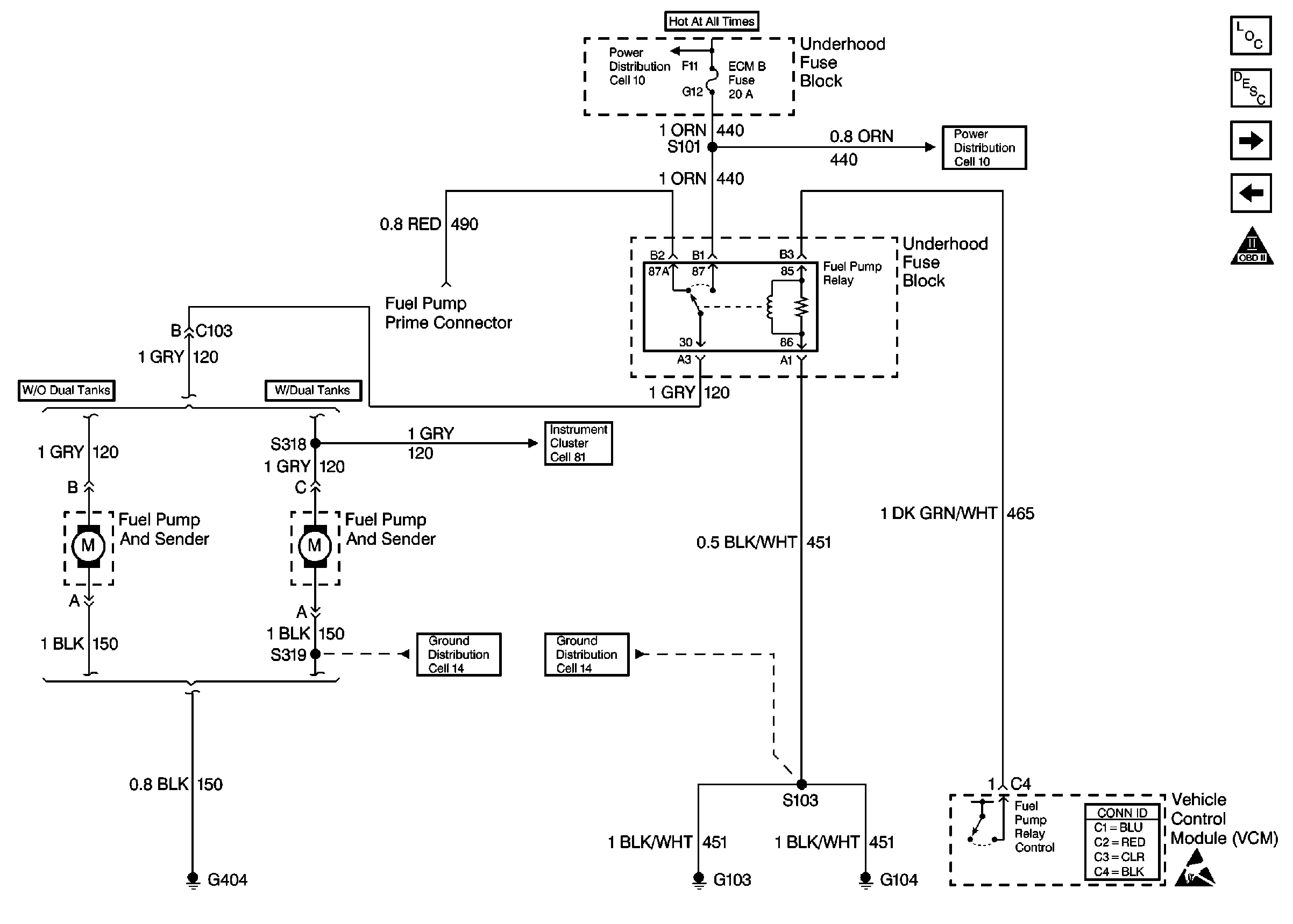
Figure 3: Fuel Controls
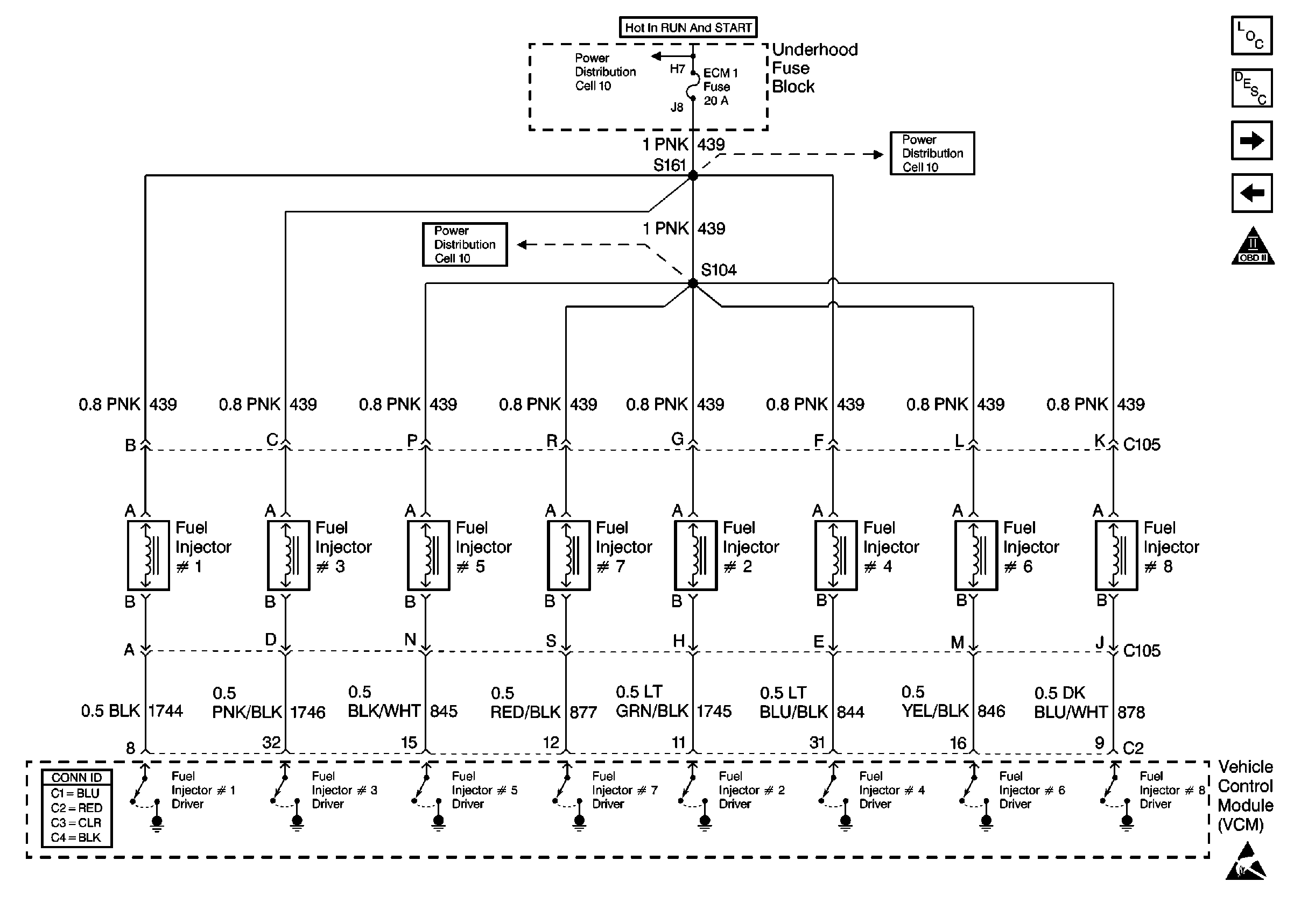
Figure 4: Fuel Injector Controls
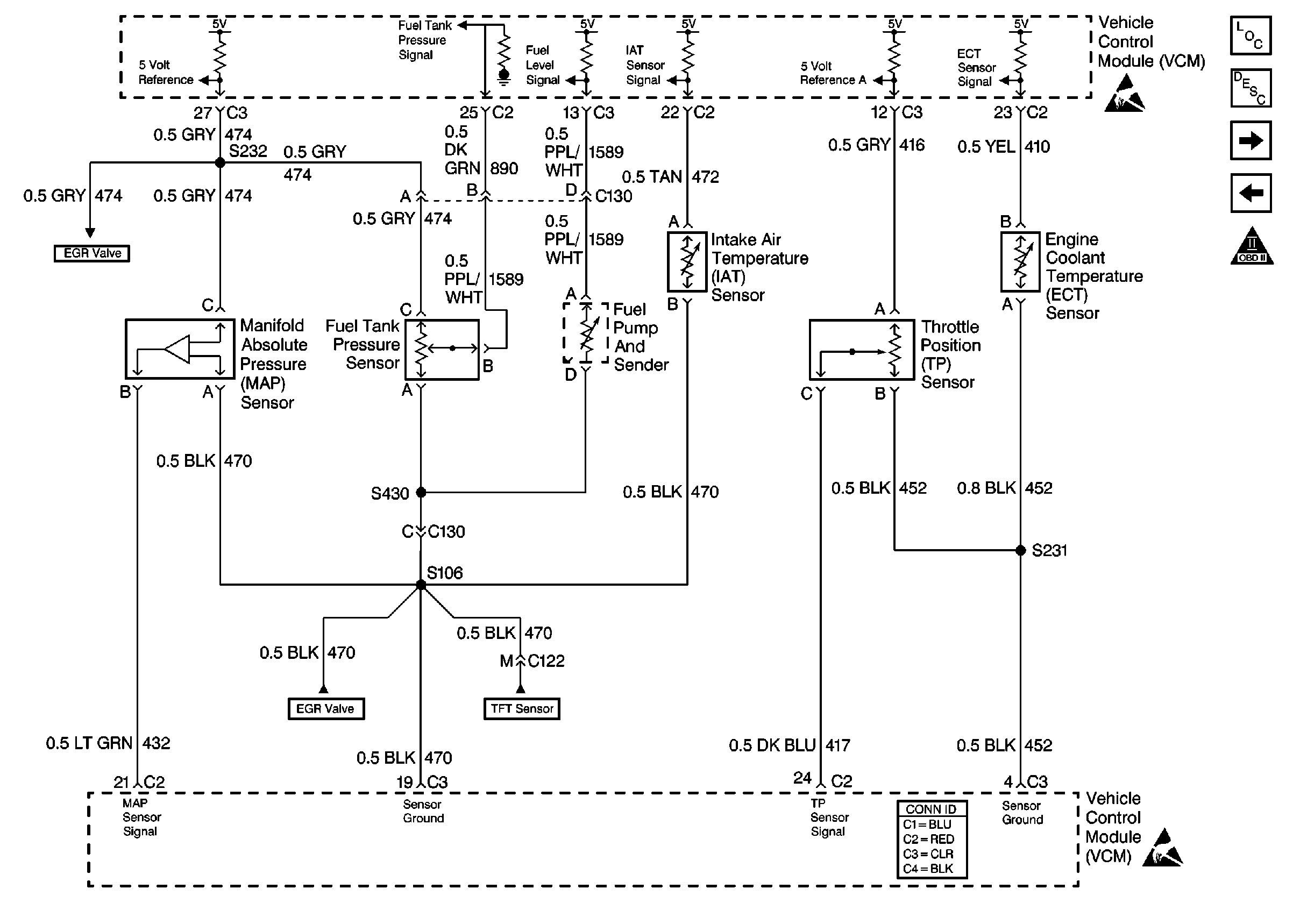
Figure 5: Engine Sensors
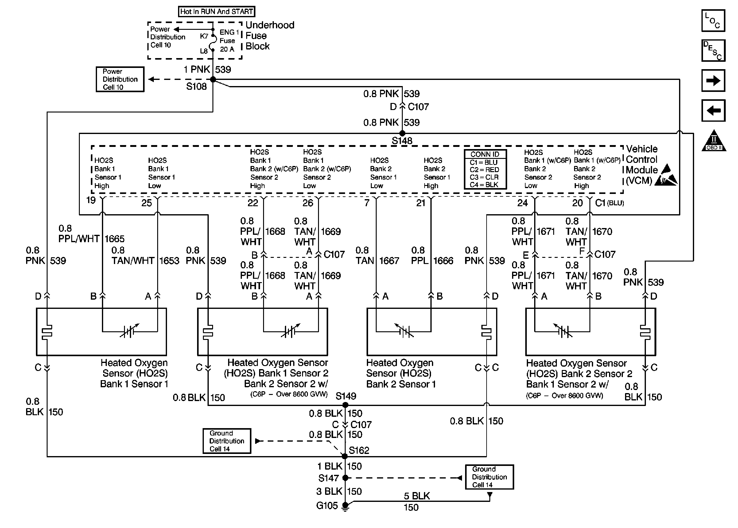
Figure 6: Heated Oxygen Sensors
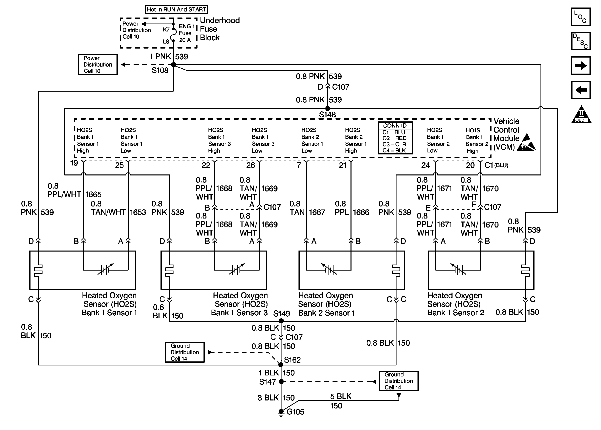
Figure 7: HO2S Sensors 5.7L
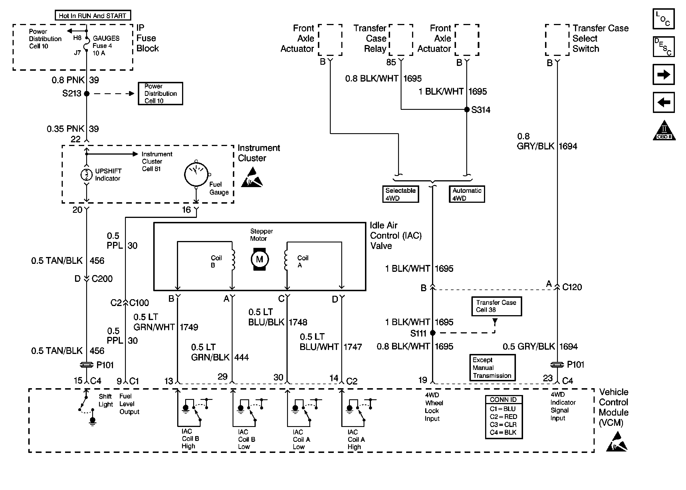
Figure 8: 4WD, IAC, and Upshift Controls
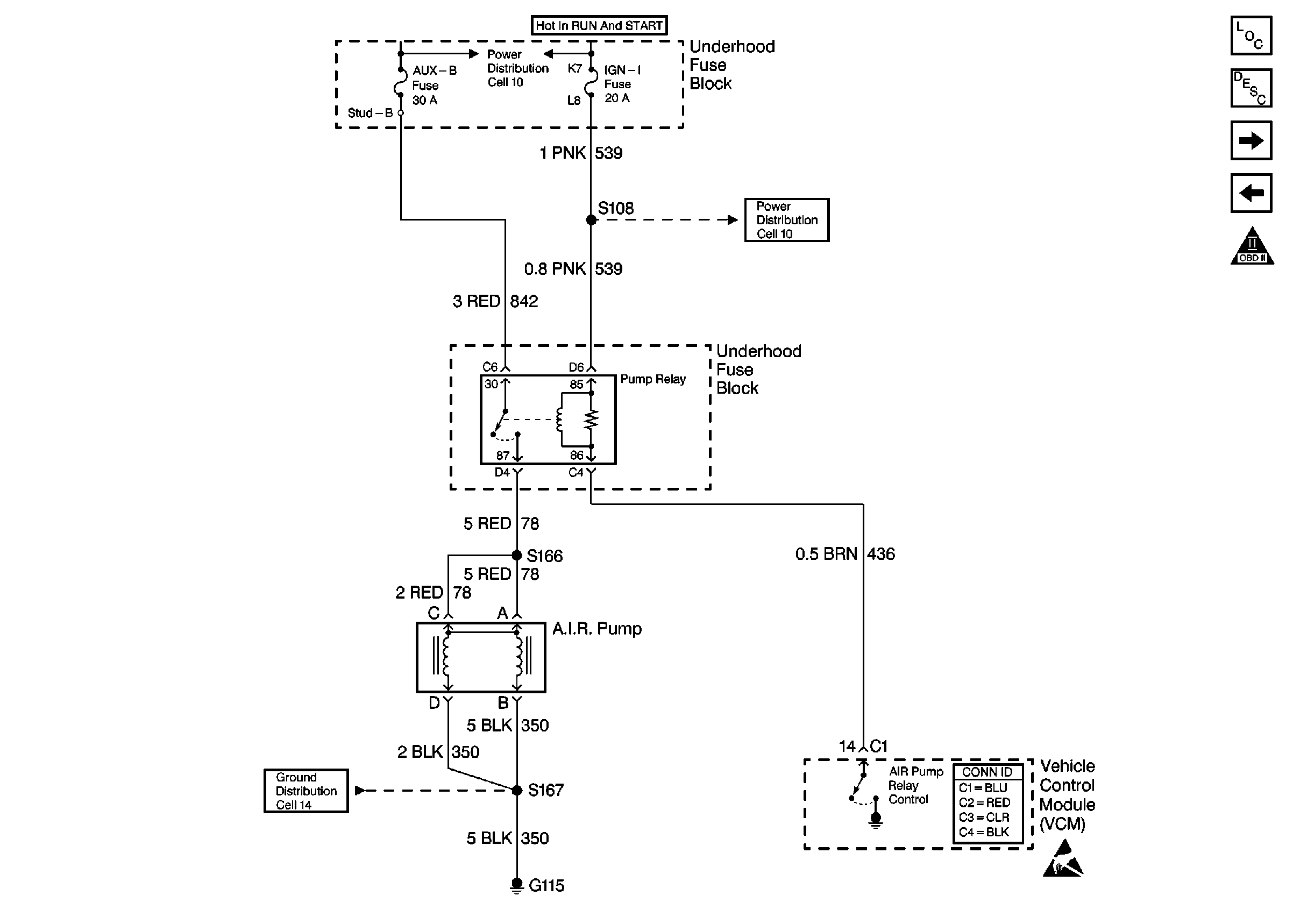
Figure 9: Air Pump Controls
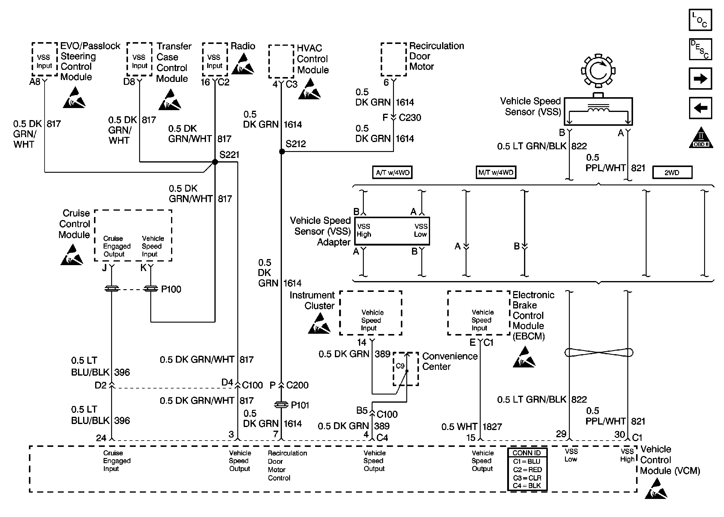
Figure 10: VSS and Cruise Controls
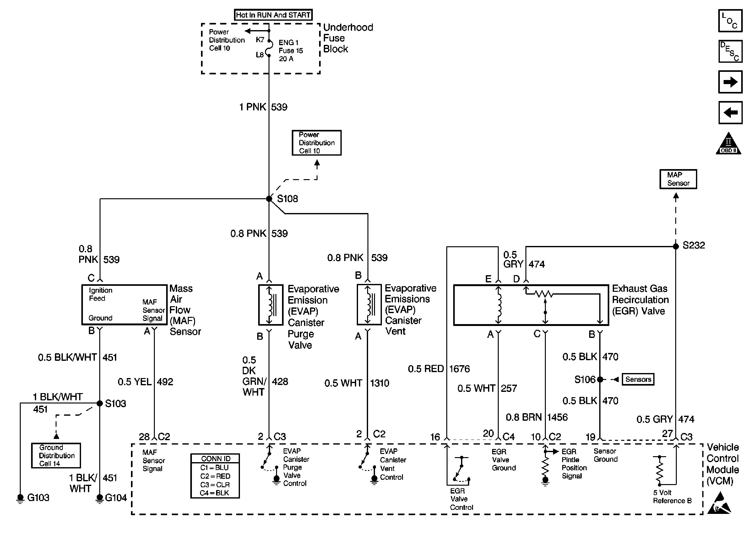
Figure 11: Evaporative and EGR Controls
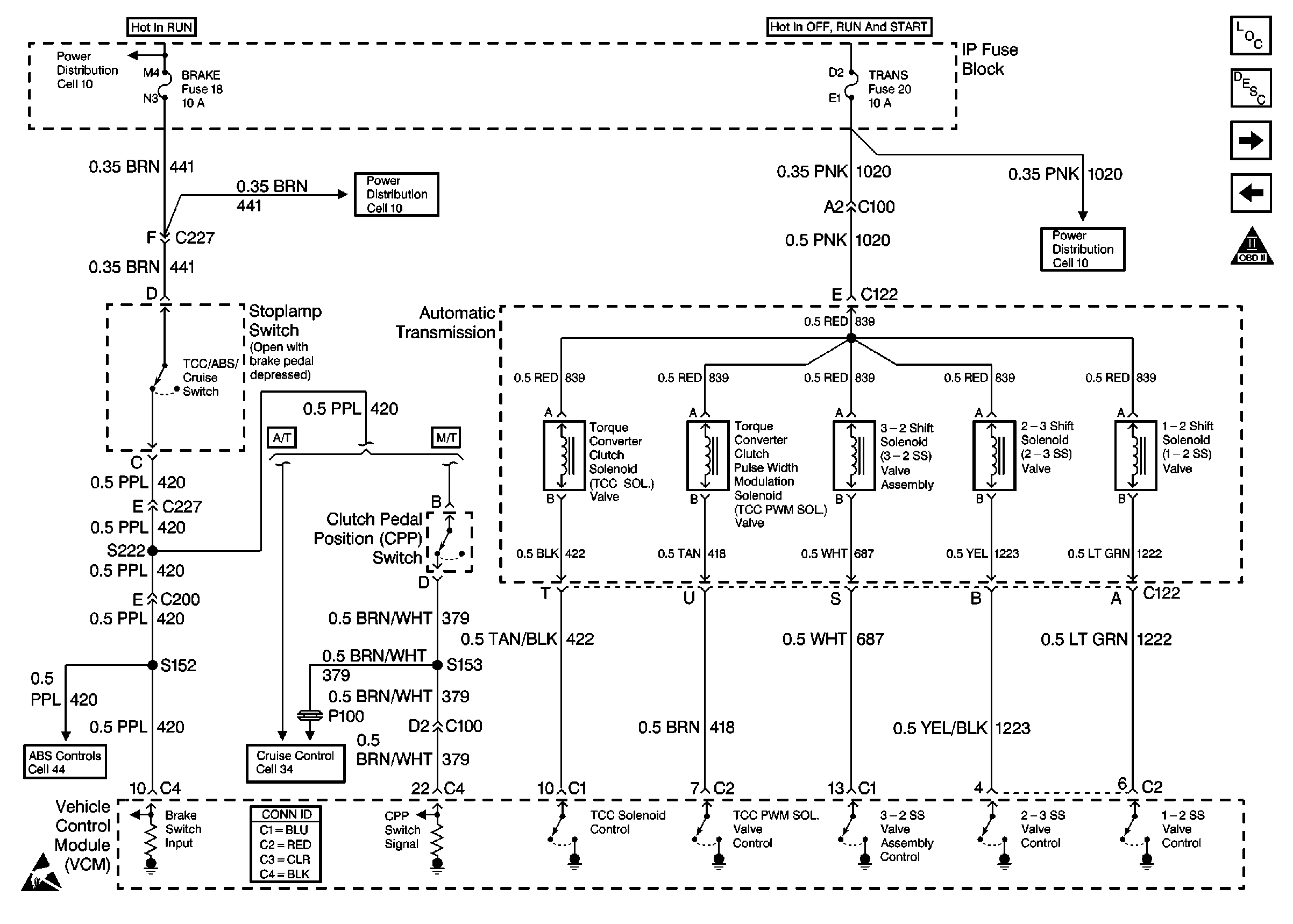
Figure 12: Shift Solenoids (4l 60E)
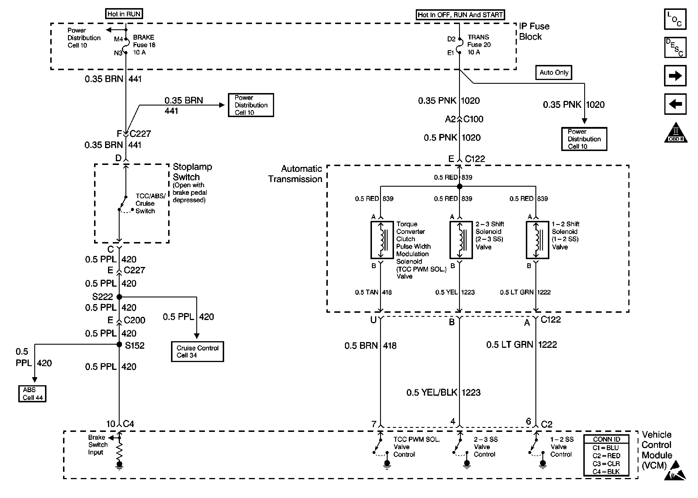
Figure 13: Shift Solenoids
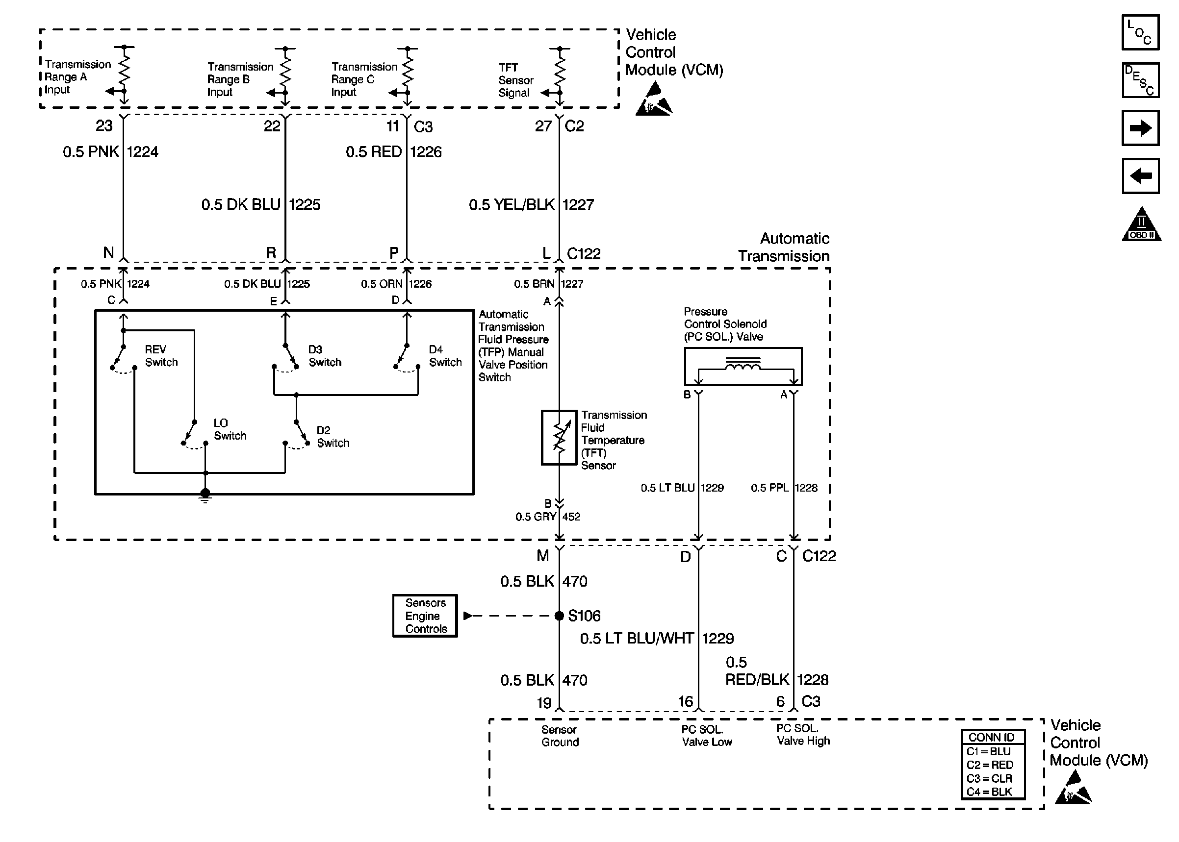
Figure 14: Transmission Controls (4L 60E)
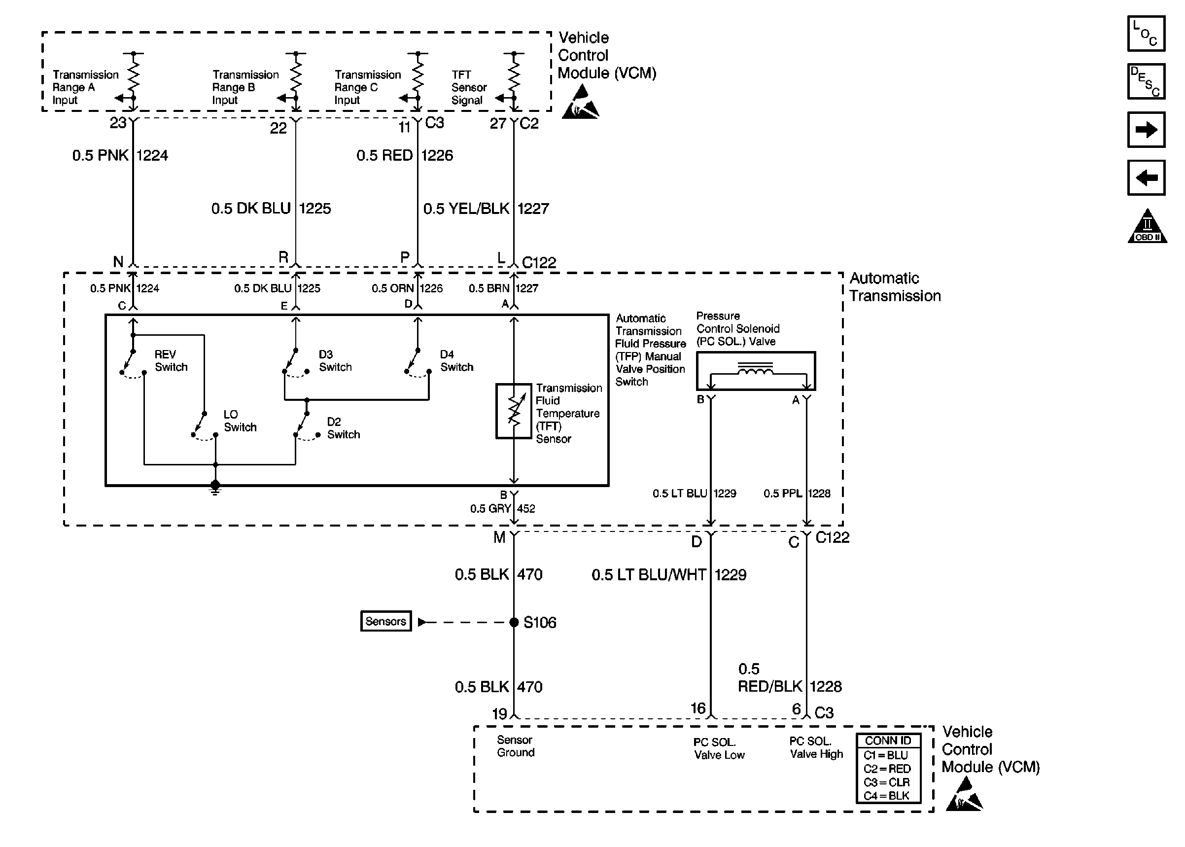
Figure 15: Transmission Controls (4L 80E)
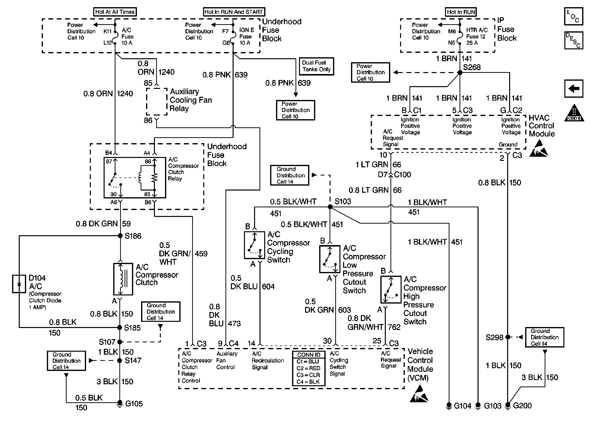
Figure 16: A/C Controls