|
These schematics are specifically for 96 5.7 L truck, however
notice that there is sometimes a ( ) with a number inside. This means
there is a note about this wire, scroll down to bottom of that connector to see
the note. Example, Pin 5 of BLUE connector has (1) and (2) on the Function
line. This means this pin serves different function depending on what the
note says. In this case, (1) means 4.3L engines ONLY, (2) means all EXCEPT
4.3L engine.
1996 Vortec 5.7L under 8600 GVW
Engine Controls Connector End Views - PCM C1, C2, C3, C4
| |
| Connector Part Information |
 | 12129025 |
 | Blue C1 32 Pin Connector |
|
| Pin |
Wire Color |
Circuit No. |
Function |
Component Connector Cavity |
DTC(s) Affected |
Possible Symptoms From a Faulty Circuit |
| 1 |
-- |
-- |
Not Used |
-- |
-- |
-- |
| 2 |
-- |
-- |
Not Used |
-- |
-- |
-- |
| 3 |
BRN/WHT |
633 |
1X CMP Signal |
-- |
-- |
-- |
| 4 |
PNK |
539 |
Ignition Feed |
-- |
-- |
No Change |
| 5 |
YEL/BLK DK BLU/WHT |
846 878 |
Injector # 6 Control (1) Injector #8 Control
(2) |
-- |
-- |
Rough Idle |
| 6 |
-- |
-- |
Not Used |
-- |
-- |
-- |
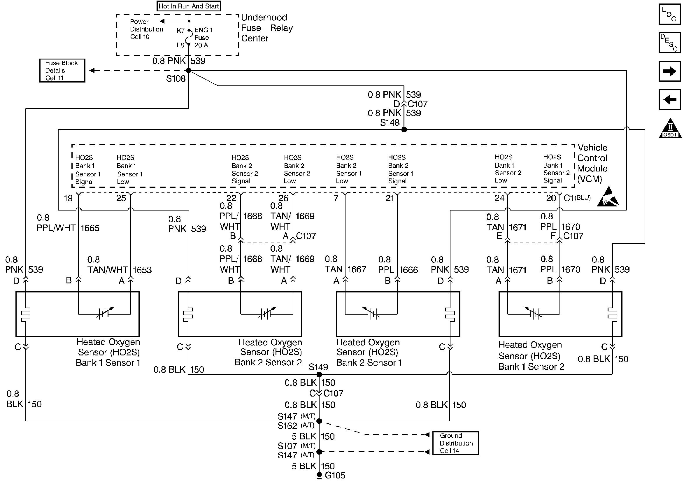
| 7 |
TAN |
1667 |
H02S Low Bank 2 Sensor 1 |
-- |
-- |
Fixed H02S Reading |
| 8 |
PNK/BLK |
632 |
CMP Low |
-- |
-- |
-- |
| 9 |
-- |
-- |
Not Used |
-- |
-- |
-- |
| 10 |
TAN/BLK |
422 |
TCC Solenoid Control (7) |
-- |
-- |
No TCC |
| 11 |
-- |
-- |
Not Used |
-- |
-- |
-- |
| 12 |
DK GRN/ WHT |
428 |
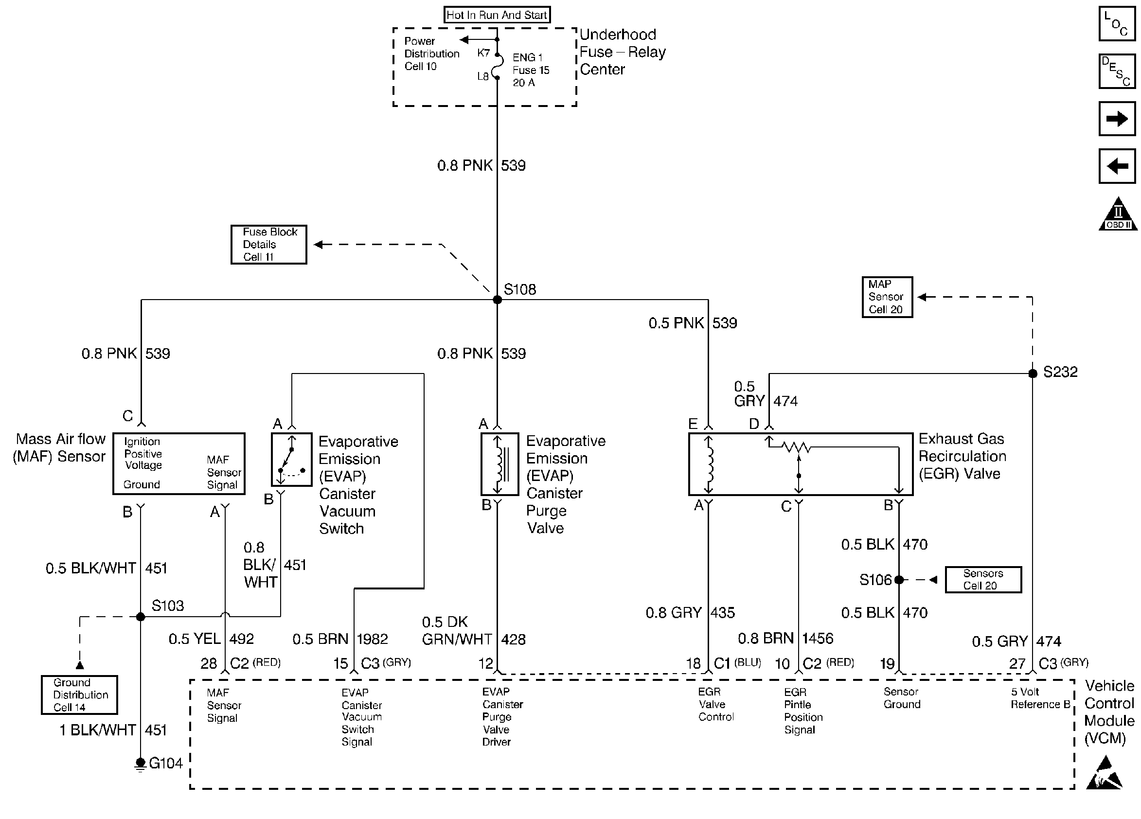
EVAP Purge Solenoid Control |
-- |
-- |
Purge Inop. |
| 13 |
WHT |
687 |
3-2 Control Solenoid (5) |
-- |
-- |
Incorrect Gear State |
| 14 |
BRN |
436 |
AIR Relay Control (3) |
-- |
-- |
-- |
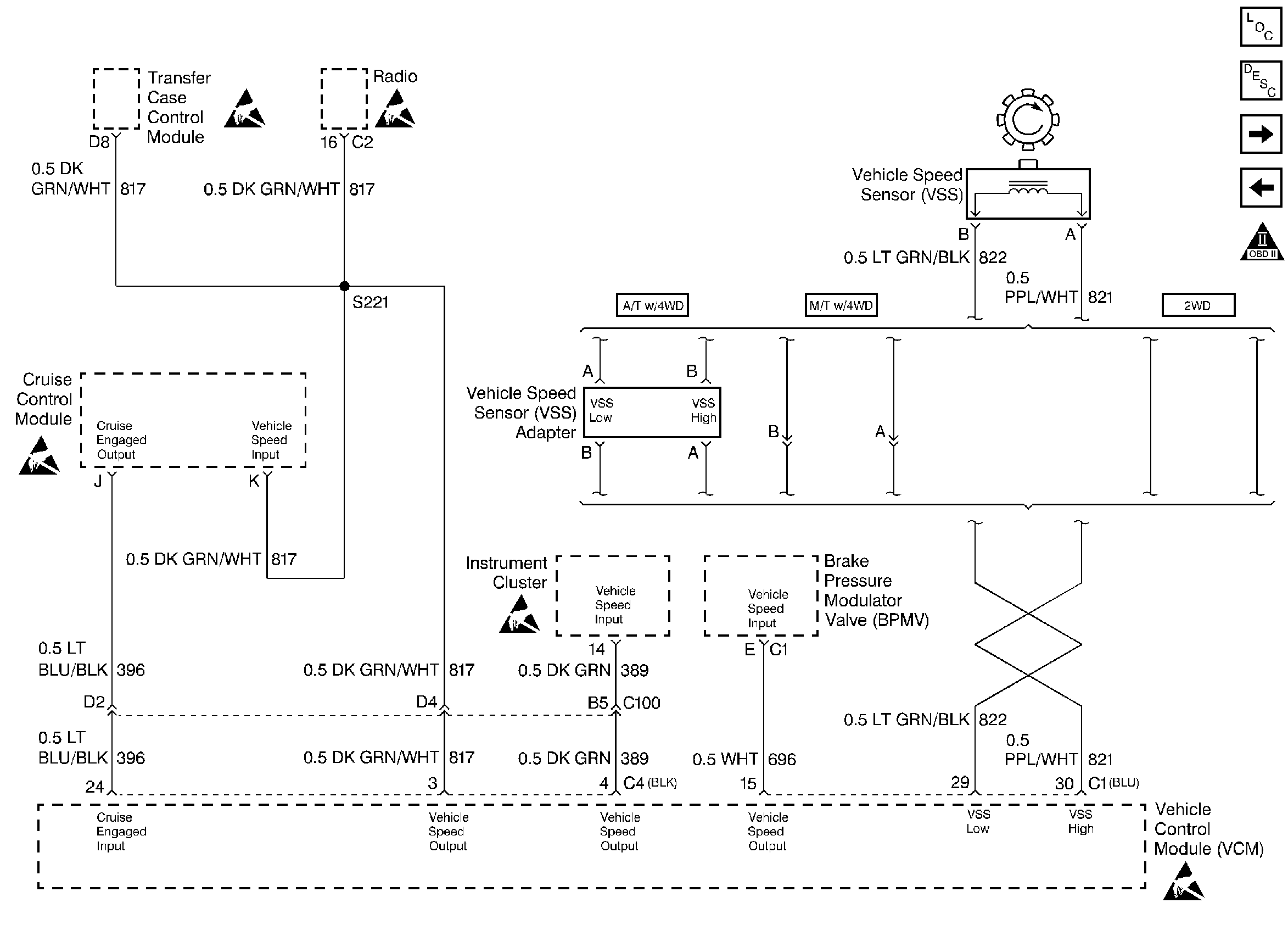
| 15 |
WHT |
696 |
VSS Output Signal (Antilock) |
-- |
-- |
-- |
| 16 |
-- |
-- |
Not Used |
-- |
-- |
-- |
| 17 |
-- |
-- |
Not Used |
-- |
-- |
-- |
| 18 |
GRY |
435 |
EGR Control |
-- |
-- |
EGR Inop. |
| 19 |
PPL/WHT |
1665 |
H02S High Bank 1 Sensor 1 |
-- |
-- |
-- |
| 20 |
PPL |
1670 |
H02S High Bank 1 Sensor 2 |
-- |
-- |
-- |
| 21 |
PPL |
1666 |
H02S High Bank 2 Sensor 1 |
-- |
-- |
-- |
| 22 |
PPL/WHT |
1668 |
H02S Bank 1 Sensor 3 (4) H02S High Bank 2
Sensor 2 (9) |
-- |
-- |
Poor Performance |
| 23 |
-- |
-- |
Not Used |
-- |
-- |
-- |
| 24 |
TAN |
1671 |
H02S Low Bank 1 Sensor 2 |
-- |
-- |
Fixed H02S Reading |
| 25 |
TAN/WHT |
1653 |
H02S Low Bank 2 Sensor 2 (9) H02S Low Bank 1
Sensor 1 |
|
|
Fixed H02S Reading |
| 26 |
TAN/WHT |
1669 |
H02S Low Bank 1 Sensor 3 (4) H02S Low Bank 2
Sensor 2 (9) |
-- |
-- |
Fixed H02S Reading |
| 27 |
-- |
-- |
Not Used |
-- |
-- |
-- |
| 28 |
PPL |
574 |
CKP Low |
-- |
-- |
No Start |
| 29 |
LT.GRN/BLK |
822 |
VSS Low |
-- |
-- |
-- |
| 30 |
PPL/WHT |
821 |
VSS Signal |
-- |
-- |
-- |
| 31 |
YEL |
573 |
3X CKP Signal (1) 4X CKP Signal (2) |
-- |
-- |
No Start |
| 32 |
-- |
-- |
Not Used |
-- |
-- |
-- |
| (1) 4.3L Only (2) Except 4.3L
(3) 7.4L California Emissions Only
(4) 4.3L and 5.0L Only
(5) Automatic Transmissions Only
(6) Manual Transmissions Only
(7) 4L60E Automatic Transmissions Only
(8) 4L80E Automatic Transmissions Only
(9) 5.7L and 7.4L Only |
| |
| Connector Part Information |
 | 12129025 |
 | Red C2 32 Pin Connector |
|
| Pin |
Wire Color |
Circuit No. |
Function |
Component Connector Cavity |
DTC(s) Affected |
Possible Symptoms From a Faulty Circuit |
| 1 |
-- |
-- |
Not Used |
-- |
-- |
-- |
| 2 |
-- |
-- |
Not Used |
-- |
-- |
-- |
| 3 |
BLK |
1744 |
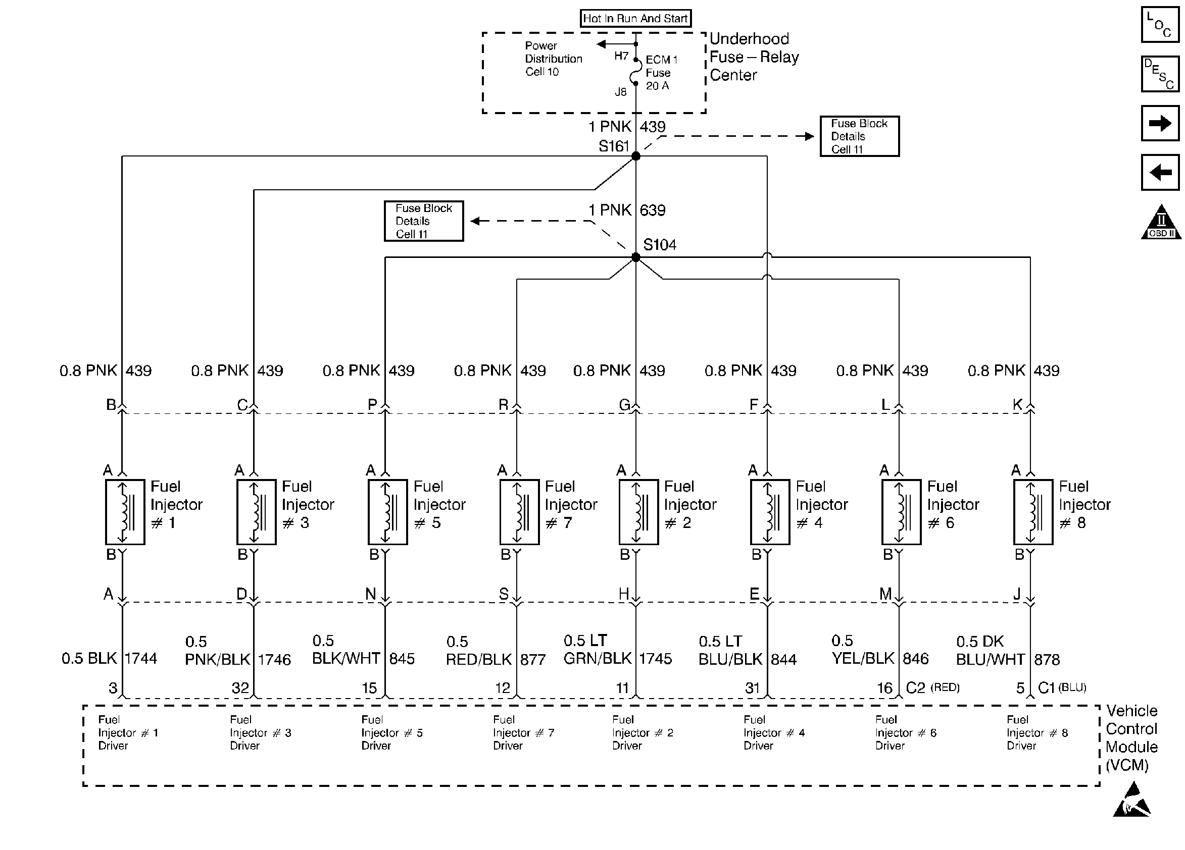
Injector # 1 Control |
-- |
-- |
Rough Idle |
| 4 |
YEL/BLK |
1223 |
2-3 Shift Solenoid Control (5) |
-- |
-- |
Incorrect Gear State |
| 5 |
-- |
-- |
Not Used |
-- |
-- |
-- |
| 6 |
LT/GRN |
1222 |
1-2 Shift Solenoid Control (5) |
-- |
-- |
Incorrect Gear State |
| 7 |
BRN |
418 |
PWM TCC Solenoid Control (6) |
-- |
-- |
TCC Inop. |
| 8 |
-- |
-- |
Not Used |
-- |
-- |
-- |
| 9 |
DK GRN/WHT |
459 |
A/C Relay Enable Relay Control |
-- |
-- |
A/C Inop. |
| 10 |
BRN |
1456 |
EGR Pintle Position |
-- |
-- |
EGR Inop. |
| 11 |
LT GRN/BLK |
1745 |
Injector #2 Control (2) |
-- |
-- |
Rough Idle |
| 12 |
RED/BLK |
877 |
Injector #7 Control |
-- |
-- |
Rough Idle |
| 13 |
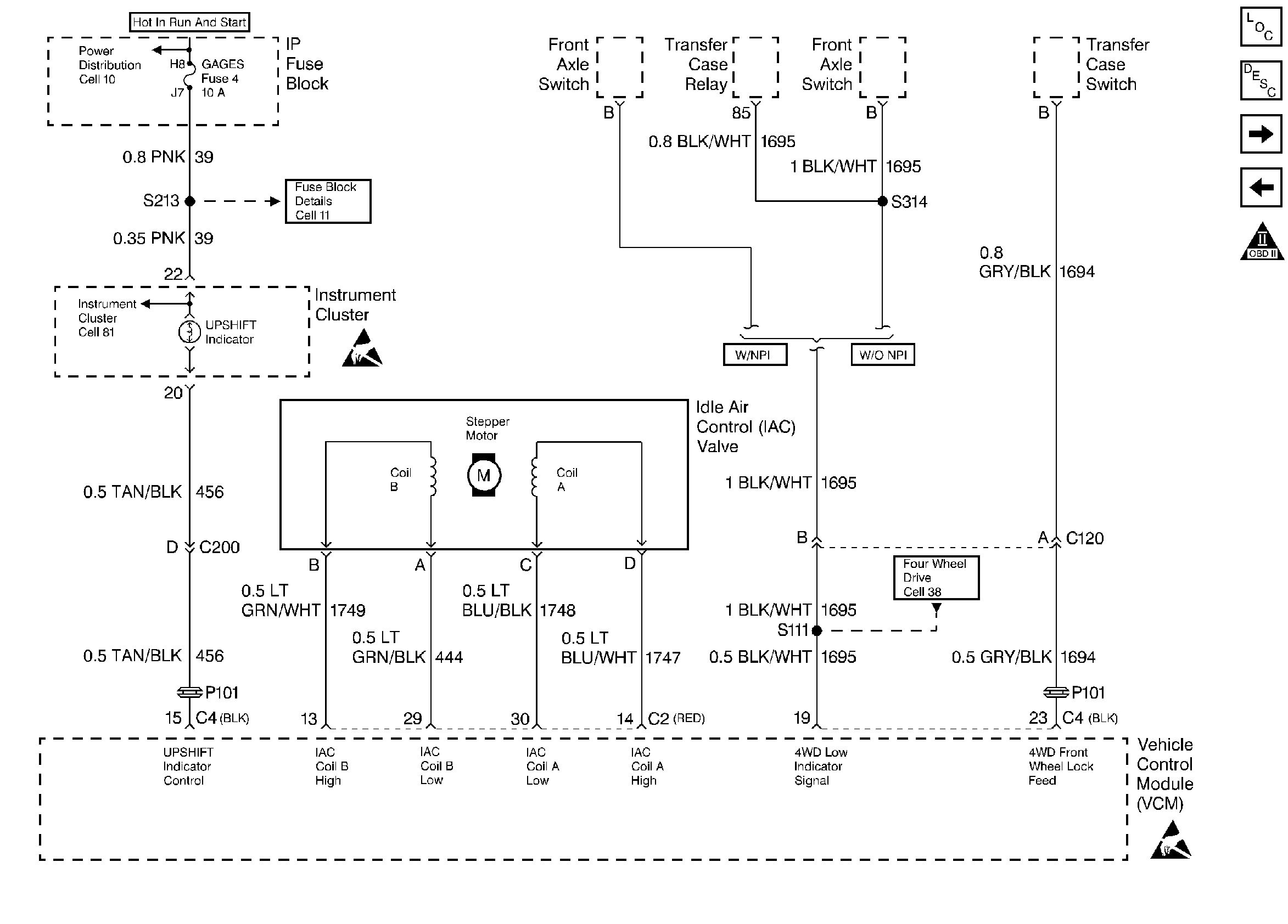
LT GRN/WHT |
1749 |
IAC B High |
-- |
-- |
-- |
| 14 |
LT BLU/WHT |
1747 |
IAC A High |
-- |
-- |
-- |
| 15 |
LT GRN/BLK BLK/WHT |
1745 845 |
Injector #2 Control (1) Injector # 5 Control
(2) |
-- |
-- |
Rough Idle |
| 16 |
PNK/BLK YEL/BLK |
1746 846 |
Injector #3 Control (1) Injector #6 Control
(2) |
-- |
-- |
Rough Idle |
| 17 |
-- |
-- |
Not Used |
-- |
-- |
-- |
| 18 |
-- |
-- |
Not Used |
-- |
-- |
-- |
| 19 |
DK/BLU |
496 |
KS Signal |
-- |
-- |
Knock Retard |
| 20 |
-- |
-- |
Not Used |
-- |
-- |
-- |
| 21 |
LT/GRN |
432 |
MAP Signal |
-- |
-- |
Poor Performance |
| 22 |
TAN |
472 |
IAT Signal |
-- |
-- |
Poor Performance |
| 23 |
YEL |
410 |
ECT Signal |
-- |
-- |
Poor Performance |
| 24 |
DK/BLU |
417 |
TP Signal |
-- |
-- |
Poor Performance/ Harsh Shifts |
| 25 |
-- |
-- |
Not Used |
-- |
-- |
-- |
| 26 |
-- |
-- |
Not Used |
-- |
-- |
-- |
| 27 |
YEL/BLK |
1227 |
TFT Signal (5) |
-- |
-- |
Early TCC |
| 28 |
YEL |
492 |
MAF Signal |
-- |
-- |
-- |
| 30 |
LT BLU/BLK |
1748 |
IAC A Low |
-- |
-- |
| 31 |
BLK/WHT LT BLU/BLK |
845 844 |
Injector #5 Control Injector #4 Control (2) |
-- |
-- |
Rough Idle |
| 32 |
LT BLU/BLK PNK/BLK |
844 1846 |
Injector #5 Control (1) Injector #3 Control
(2) |
-- |
-- |
Rough Idle |
| (1) 4.3L Only (2) Except 4.3L
(3) 7.4L California Emissions Only
(4) 4.3L and 5.0L Only
(5) Automatic Transmission Only
(6) Manual Transmissions Only
(7) 4L60E Automatic Transmissions Only
(8) 4L80E Automatic Transmissions Only
(9) 5.7L and 7.4L Only |
| |
| Connector Part Information |
 | 12129025 |
 | Gray C3 32 Pin Connector |
|
| Pin |
Wire Color |
Circuit No. |
Function |
Component Connector Cavity |
DTC(s) Affected |
Possible Symptoms From a Faulty Circuit |
| 1 |
-- |
-- |
Not Used |
-- |
-- |
-- |
| 2 |
-- |
-- |
Not Used |
-- |
-- |
-- |
| 3 |
-- |
-- |
Not Used |
-- |
-- |
-- |
| 4 |
BLK |
452 |
ECT/TP Sensor Ground |
-- |
-- |
High Idle |
| 5 |
-- |
-- |
Not Used |
-- |
-- |
-- |
| 6 |
RED/BLK |
1228 |
PCS High |
-- |
-- |
Poor Shift Quality |
| 7 |
DK BLU/WHT |
1231 |
Input Speed Sensor Low (8) |
-- |
-- |
-- |
| 8 |
RED/BLK |
1230 |
Input Speed Sensor High |
-- |
-- |
-- |
| 9 |
WHT |
423 |
IC Control |
-- |
-- |
No Start |
| 10 |
-- |
-- |
Not Used |
-- |
-- |
-- |
| 11 |
RED |
1226 |
Range Signal C (5) |
-- |
-- |
Erratic Manual Downshifts |
| 12 |
GRY |
416 |
TP Sensor 5V Reference |
-- |
-- |
Lack Of Power, Harsh Shifts |
| 13 |
BRN/WHT |
379 |
Clutch Signal (6) |
-- |
-- |
AIR Pump Inop. |
| 14 |
-- |
-- |
Not Used |
-- |
-- |
-- |
| 15 |
BRN |
1982 |
EVAP Canister Purge Diagnostic Vacuum Switch
Signal |
-- |
-- |
Purge Inop. |
| 16 |
LT BLU/WHT |
1229 |
PCS Low (5) |
-- |
-- |
Poor Shift Quality |
| 17 |
BLK/WHT |
451 |
System Ground |
-- |
-- |
-- |
| 18 |
BLK/WHT |
BLK/WHT |
Ground |
-- |
-- |
-- |
| 19 |
BLK |
470 |
IAT/MAP/EGR Sensor Ground |
-- |
-- |
Idle Surge, Exhaust Odor |
| 20 |
-- |
-- |
Not Used |
-- |
-- |
-- |
| 21 |
ORN |
440 |
Battery Feed |
-- |
-- |
-- |
| 22 |
DK/BLU |
1225 |
Range Signal B |
-- |
-- |
Erratic Manual Downshifts |
| 23 |
PNK |
1224 |
Range Signal A |
-- |
-- |
Erratic Manual Downshifts |
| 24 |
-- |
-- |
Not Used |
-- |
-- |
-- |
| 25 |
DK GRN/WHT |
762 |
A/C Request Signal |
-- |
-- |
-- |
| 26 |
-- |
-- |
Not Used |
-- |
-- |
-- |
| 27 |
GRY |
474 |
EGR/MAP 5V Reference |
-- |
-- |
-- |
| 28 |
-- |
-- |
-- |
-- |
-- |
-- |
| 29 |
-- |
-- |
-- |
-- |
-- |
-- |
| 30 |
-- |
-- |
-- |
-- |
-- |
-- |
| 31 |
-- |
-- |
-- |
-- |
-- |
-- |
| 32 |
-- |
-- |
-- |
-- |
-- |
-- |
| (1) 4.3L Only (2) Except 4.3L
(3) 7.4L California Emissions Only
(4) 4.3L and 5.0L Only
(5) Automatic Transmissions Only
(6) Manual Transmissions Only
(7) 4L60E Automatic Transmissions Only
(8) 4L80E Automatic Transmissions Only
(9) 5.7L and 7.4L Only |
| |
| Connector Part Information |
 | 12129225 |
 | Black C4 24-pin Connector |
|
| Pin |
Wire Color |
Circuit No. |
Function |
Component Connector Cavity |
DTC(s) Affected |
Possible Symptoms From a Faulty Circuit |
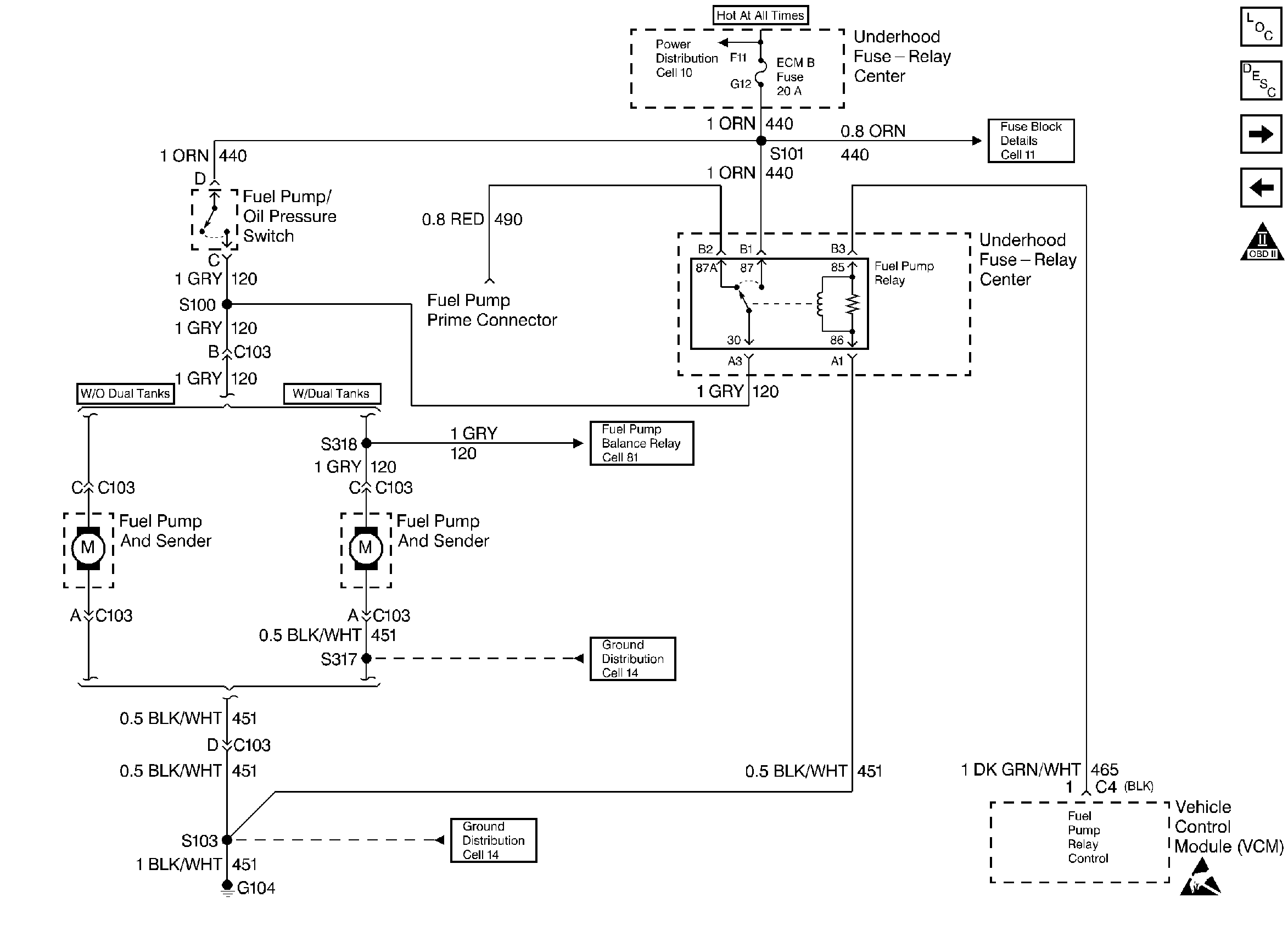
| 1 |
DK GRN/WHT |
465 |
Fuel Pump Relay Control |
-- |
-- |
Extended Crank When Cold |
| 2 |
-- |
-- |
Not Used |
-- |
-- |
-- |
| 3 |
DK GRN/WHT |
817 |
VSS Output Signal (TCCM, Radio, Cruise) |
-- |
-- |
-- |
| 4 |
DK GRN |
389 |
VSS Output Signal (speedo) |
-- |
-- |
Speedometer Inop. |
| 5 |
BRN/WHT |
419 |
MIL Control |
-- |
-- |
MIL Inop. or Remains ON |
| 6 |
-- |
-- |
Not Used |
-- |
-- |
-- |
| 7 |
-- |
-- |
Not Used |
-- |
-- |
-- |
| 8 |
-- |
-- |
Not Used |
-- |
-- |
-- |
| 9 |
-- |
-- |
Not Used |
-- |
-- |
-- |
| 10 |
PPL |
420 |
Brake Signal |
-- |
-- |
No TCC |
| 11 |
PPL |
1807 |
Serial Data |
-- |
-- |
No Serial Data |
| 12 |
-- |
-- |
Not Used |
-- |
-- |
-- |
| 13 |
BRN |
441 |
Ignition Feed |
-- |
-- |
-- |
| 14 |
-- |
-- |
Not Used |
-- |
-- |
-- |
| 15 |
TAN/BLK |
456 |
Shift Control Lamp |
-- |
-- |
Shift Lamp Inop. |
| 16 |
-- |
-- |
Not Used |
-- |
-- |
-- |
| 17 |
-- |
-- |
Not Used |
-- |
-- |
-- |
| 18 |
PNK |
439 |
Ignition Feed |
-- |
-- |
No Start |
| 19 |
BLK/WHT |
1695 |
4WD Engaged Signal (5) |
-- |
-- |
-- |
| 20 |
-- |
-- |
Not Used |
-- |
-- |
-- |
| 21 |
-- |
-- |
Not Used |
-- |
-- |
-- |
| 22 |
-- |
-- |
Not Used |
-- |
-- |
-- |
| 23 |
GR/BLK |
1694 |
Transfer Case Hi Low Switch |
-- |
-- |
-- |
| 24 |
LT BLU/BLK |
396 |
Cruise Engaged Signal |
-- |
-- |
No Change |
| (5) Automatic Transmissions
Only |
!!!!!!!!!!!!!!!!!!!THESE SCHEMATICS ARE V8 ONLY!!!!!!!!!!!!!!!
|
|
|
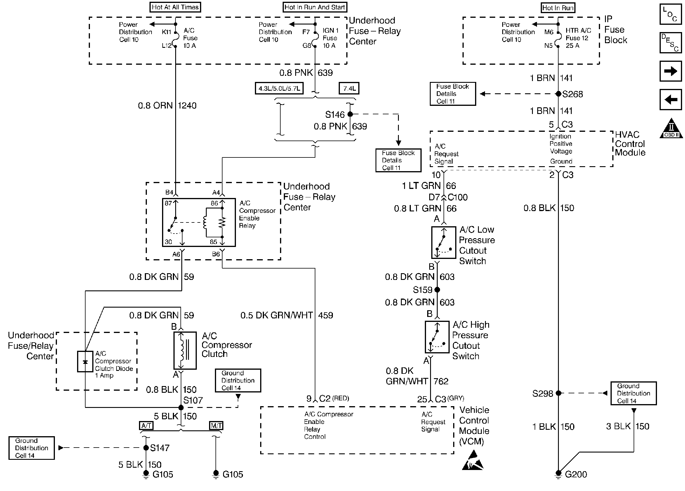
A/C
|
|
|
|
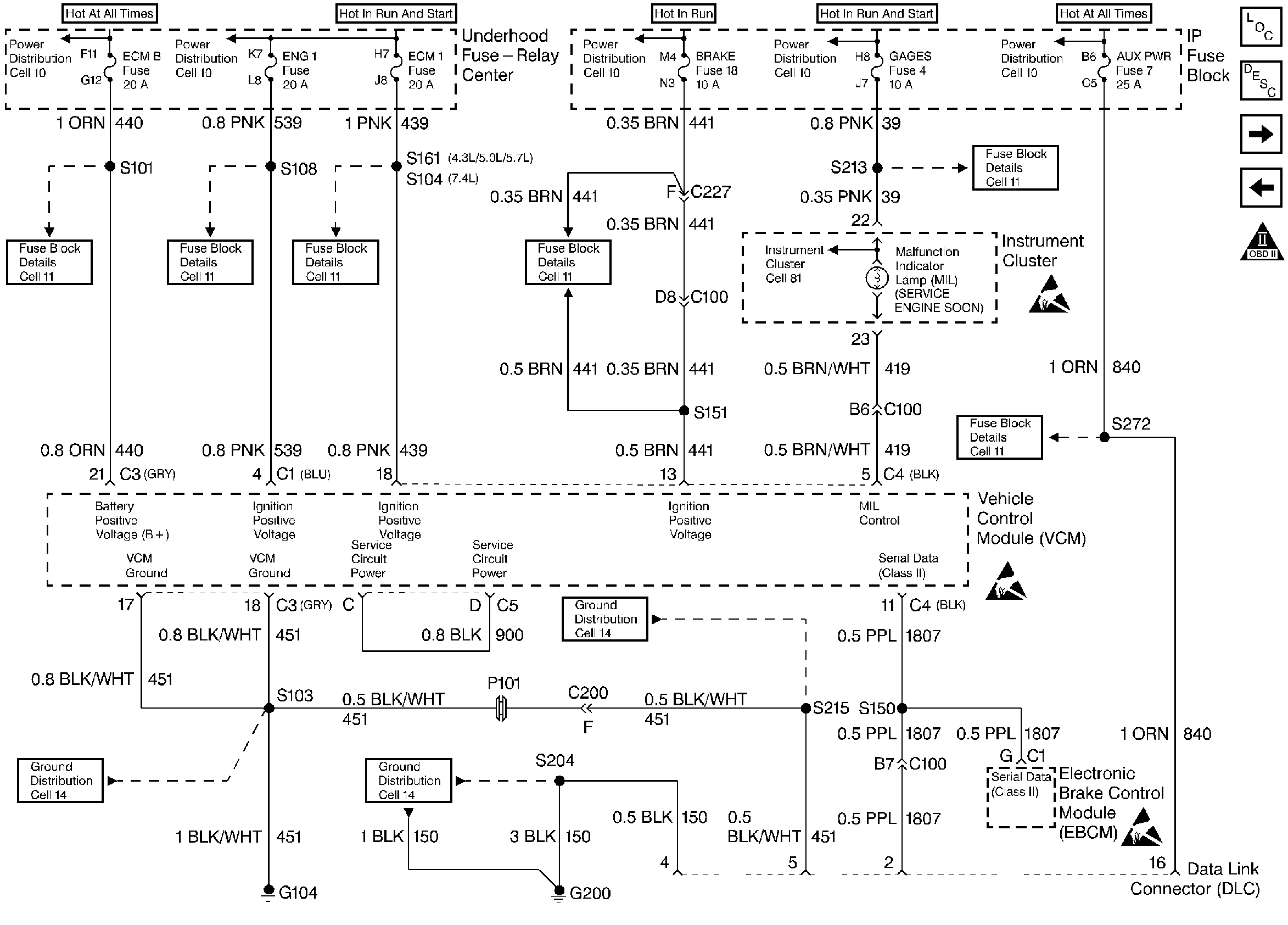
CLUSTER, IP, DLC
|
|
|
|
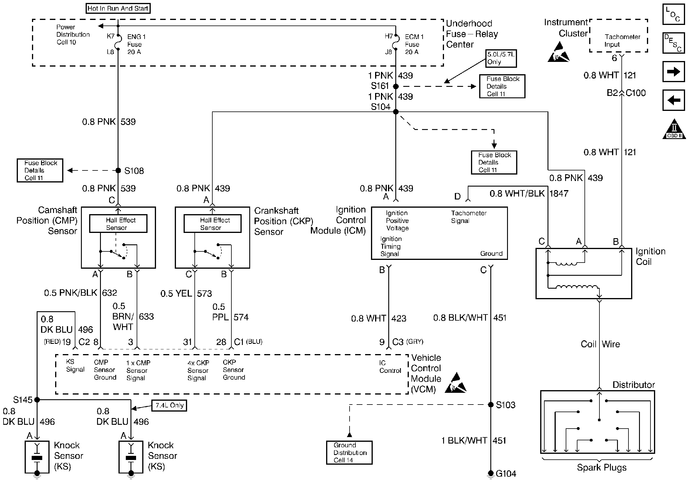
CMP, CKP, ICM, COIL
|
|
|
|
|
INJECTORS
|
|
|
|
FUEL PUMP
|
|
|
|
HO2S
|
|
|
|
|
IAC
|
|
|
|
MAF, EVAP, EGR
|
|
|
|
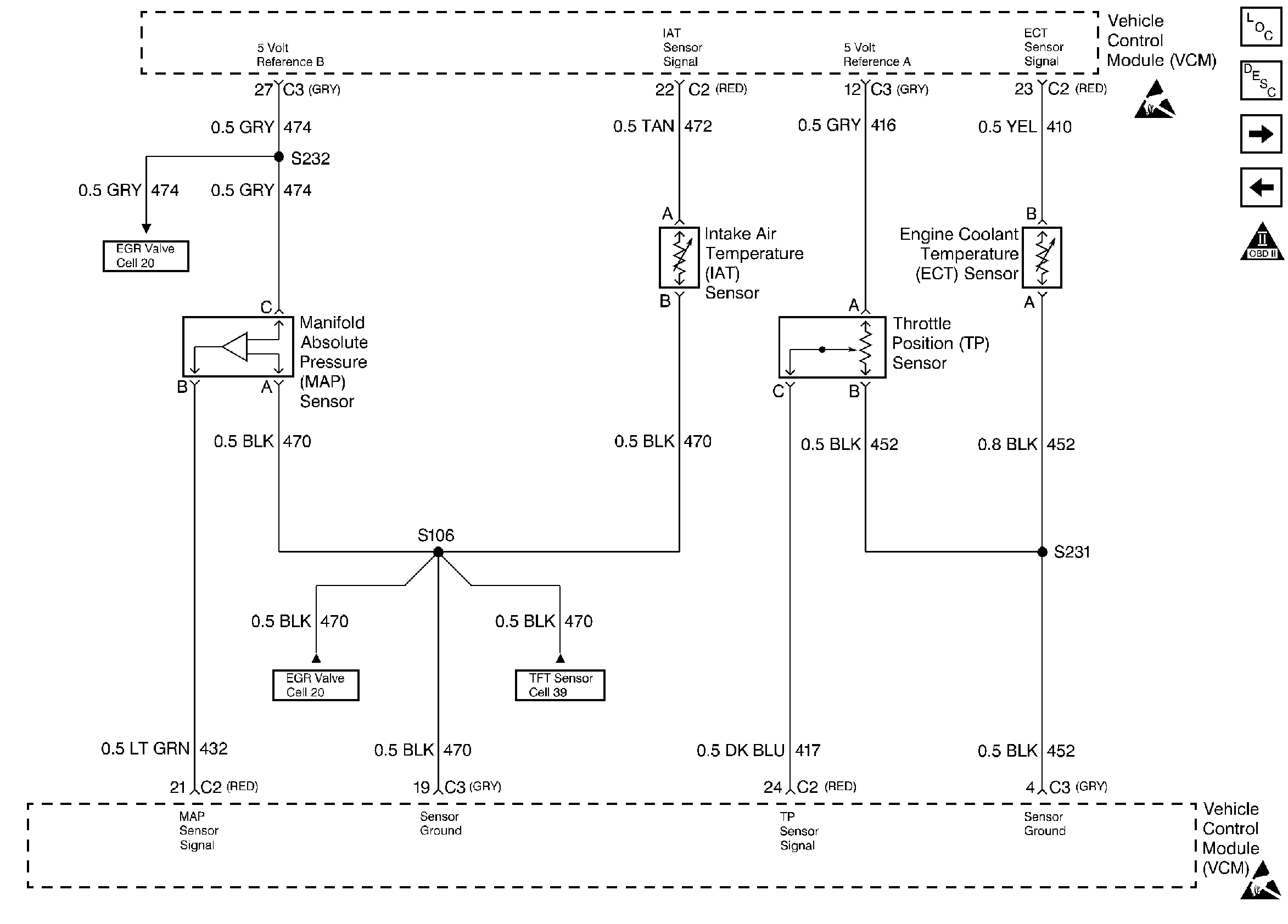
MAP, IAT, TP, ECT
|
|
|
|
|
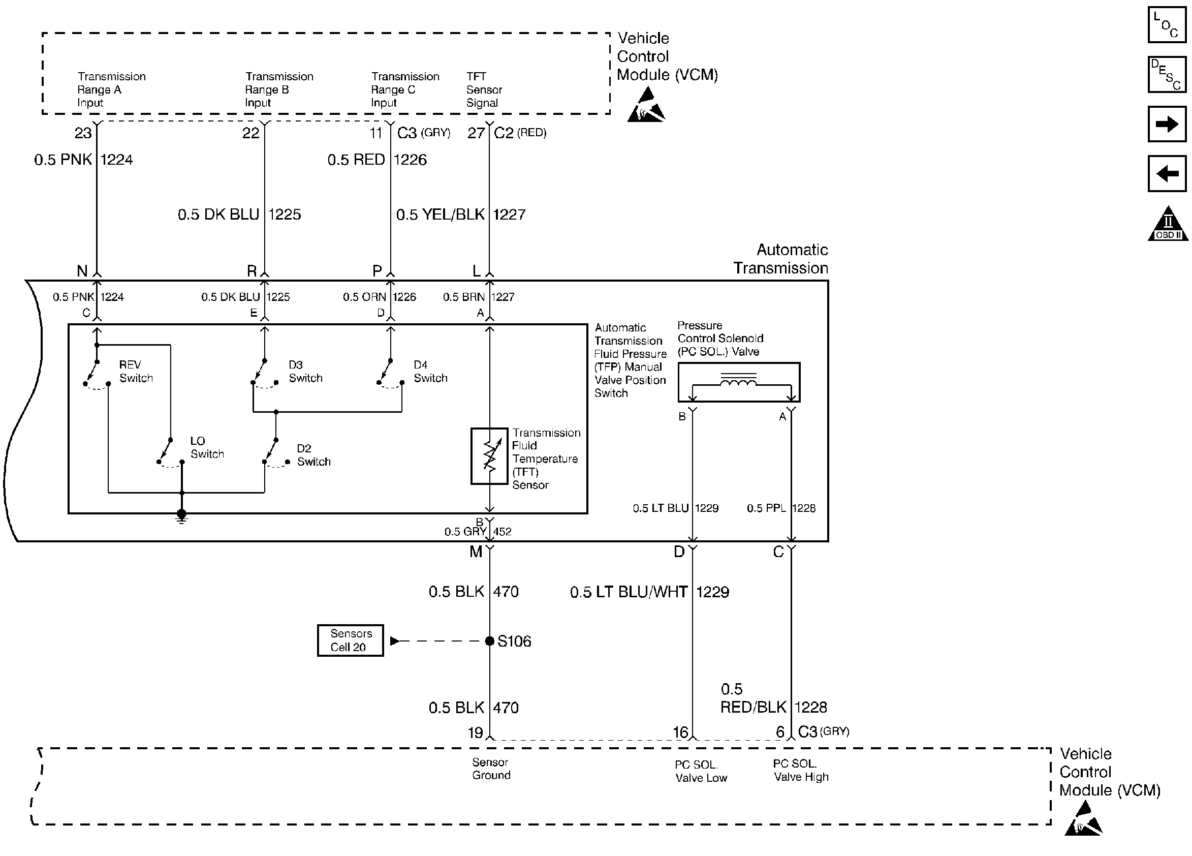
PC SOL, TFP
|
|
|
|
VSS
|
|
|
|